肌皮神经(musculocutaneous nerve)是由臂丛神经的第5、6颈神经根合成的上干与第7颈神经根单独形成的中干,分别发出的前股组成外侧束后分出的主干称之。

解剖及变异
肌皮神经起点位于胸小肌的下缘,穿入喙肱肌后,再在肱二头肌与肱肌之间下行,沿途发出肌支支配这三块肌肉。

最后穿过肱二头肌深面,从其外侧穿出深筋膜,经肘部到前臂外侧皮下,成为前臂外侧皮神经,分布于前臂桡侧皮肤。
手术步骤
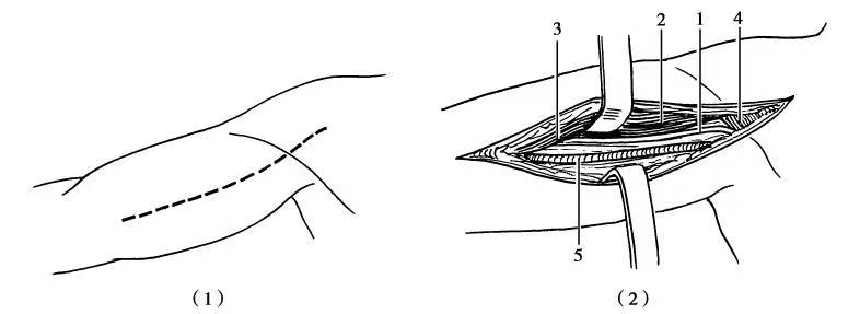
探查肌皮神经时,采仰卧位,患肢外展伸直。切口从肩胛骨喙突下2cm开始,经胸大肌外缘,斜向腋前臂,转到上臂内侧肌间隔。
切开皮肤、皮下组织,然后切开上臂上段内侧肌间隔后,在腋部可显露深面的筋膜,将胸大肌下缘向上牵开和切开此筋膜后,可见喙肱肌,于喙肱肌下缘即可见肌皮神经穿过喙肱肌,并发出支配喙肱肌的肌支,沿肌皮神经主干向近侧解剖可达外侧束与正中神经外侧头汇合处,向远侧分离可进入肱二头肌和肱肌之间。
在分离过程中,要小心保护发出的肌支(图1)。穿过肱二头肌深面,在其外侧穿出便是前臂外侧皮神经,发出皮神经后即延伸为肱肌肌支。

图1 肌皮神经的切口及显露(1)切口;(2)1.肌皮神经;从2.喙肱肌内侧穿过,进入3.肱二头肌去,其内侧为5.肱动脉,有时可高位于4.胸大肌深面进入喙肱肌
来源:《骨科手术学》
主编:邱贵兴 戴尅戎